Cast Steel Piston Valve
Technical Specification
| Design Standard | B16.34/EN12516.2 |
|---|---|
| Testing Standard | API 598 |
| Face to Face Standard | ASME B 16.10 |
| Flange End Standard | ASME B16.5 |
Maximum Operating Testing Pressure
| Pressure Rating For | 150# | 300# |
|---|---|---|
| Body (Hyd.) | 32 | 78 |
| Seat (Hyd.) | 22 | 56 |
| Seat (Air.) | 7 | 7 |
Design Features
- MSV Piston Valve is basically Seatless and Glandless Valve and by virtue of its design can replace both, the conventional type of Gate & Globe valves. with distinct advantages over them.
- Piston Valve works on the principle of Resilient rings in conjunction with a Metallic Stainless Steel Piston, that moves vertically between the rings. giving a Seal that is both effective as well as Durable. This sealing system gives a bubble tight shut off.
All Dimensions are in mm Unless Specified
| Class | 150# | 300# | |||||
|---|---|---|---|---|---|---|---|
| Dimension | 80mm (3") | 100mm (4") | 150mm (6") | 200mm (8") | 80mm (3") | 100mm (4") | 150mm (6") |
| F/F (mm) | 241 | 292 | 406 | 495 | 318 | 356 | 444 |
| ∅P (mm) | 80 | 100 | 152 | 200 | 80 | 100 | 152 |
| H Open (mm) | 400 | 510 | 615 | 720 | 400 | 510 | 615 |
| H Close (mm) | 330 | 420 | 495 | 575 | 330 | 420 | 495 |
| ∅F (mm) | 190 | 230 | 280 | 245 | 210 | 255 | 320 |
| ∅RF (mm) | 127 | 157.2 | 215.9 | 269.9 | 127 | 157.2 | 215.9 |
| FT (mm) | 17.5 | 22.3 | 23.9 | 27 | 27 | 30.2 | 35 |
| RFH (mm) | 1.7 | 1.7 | 1.7 | 1.7 | 1.7 | 1.7 | 1.7 |
| PCD (mm) | 152.4 | 190.5 | 241.3 | 298.5 | 168.3 | 200 | 269.9 |
| N | 4 | 8 | 8 | 8 | 8 | 8 | 12 |
| ∅WH (mm) | 300 | 300 | 350 | 400 | 300 | 300 | 350 |
| ∅D (mm) | 19 | 19 | 22.2 | 22.3 | 19 | 19 | 22.2 |
| Weight Approx (Kg) | 21 | 35.5 | 56.7 | 110.4 | 25.2 | 40.7 | 68.7 |
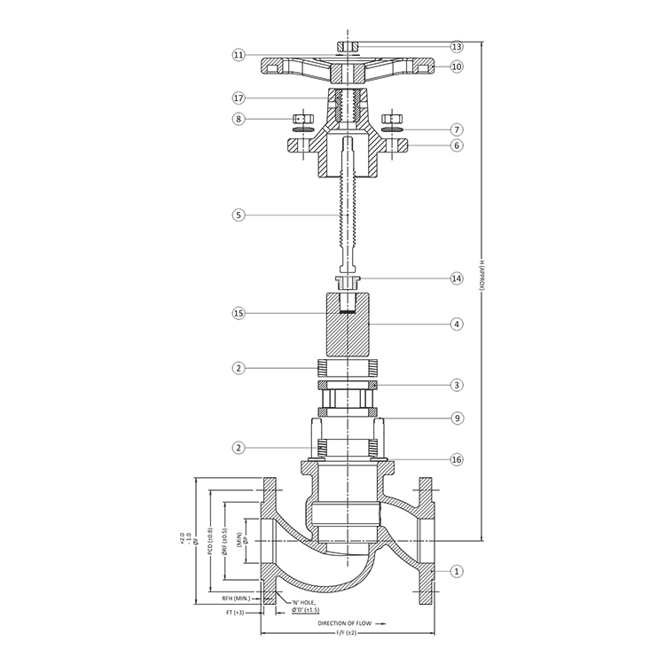
Material of Construction
| No. | Description | Material | 15-20mm | 25mm | 40mm | 50mm |
|---|---|---|---|---|---|---|
| 1 | Body | ASTM A 216 GR. WCB | 1 | 1 | 1 | 1 |
| 2 | Sealing Ring | Graphite With SS304 Refinforced | 2 | 2 | 2 | 2 |
| 3 | Lantern Bush | ASTM A 276 Type SS410 / A217 GR.CA15 | 1 | 1 | 1 | 1 |
| 4 | Piston | ASTM A 276 Type SS304 / A315 GR. CF8 | 1 | 1 | 1 | 1 |
| 5 | Spindle | ASTM A 276 Type SS410 | 1 | 1 | 1 | 1 |
| 6 | Bonnet | ASTM A 105 | 1 | 1 | 1 | 1 |
| 7 | Belleville Washer | 50CR V4 / ASTM240 GR.302 | 4 | 8 | 8 | 8 |
| 8 | Nut | ASTM A 194 GR. 2H | 2 | 4 | 4 | 4 |
| 9 | Stud | ASTM A 193 GR. B7 | 2 | 4 | 4 | 4 |
| 10 | Handwheel | MI / SGIRON | 1 | 1 | 1 | 1 |
| 11 | Name Plate | Stainless Steel | 1 | 1 | 1 | 1 |
| 12 | Handwheel Wahser | MS | 1 | 1 | 1 | 1 |
| 13 | Handwheel Nut | ASTM A 194 GR. 2H | 1 | 1 | 1 | 1 |
| 14 | Split Nut | Brass IS319 GR.1 | NA | NA | 1 | 1 |
| 15 | Split Nut Washer | Brass | NA | NA | 1 | 1 |
| 16 | Gap Ring | ASTM A 276 TYPE SS 410 | NA | NA | NA | 4 |
| 17 | Threaded Bush | Brass IS319 GR. 1 | NA | NA | NA | 1 |
Note: Alloy Steel, Stainless Steel, Duplex, Super Dulex is also available on request.
