Globe Valve
Conformity To Standard & Codes
| Design & Manufactuting | API 600 / ASME B16.34 / BS1873 |
|---|---|
| Inspection & Testing | API 598 / EN 12666 Part 1 |
| Valve Face to Face | ANSI B 16.10 |
| End Connection | ASME B 16.5, Class 150, 300 |
| Pressure & Temp. Rating | ANSI B 16.34 |
Valves Inspection & Testing
| Test | Class 150# | Class 300# |
|---|---|---|
| Body (Hyd.) | 31kg/cm2 | 78kg/cm2 |
| Seat (Hyd.) | 58kg/cm2 | 23kg/cm2 |
| Back Seat (Air) | 23g/cm2 | 58kg/cm2 |
| Air Test (Seat Air) | 7kg/cm2 | 7kg/cm2 |
Standard Material of Construction
Sailent Features
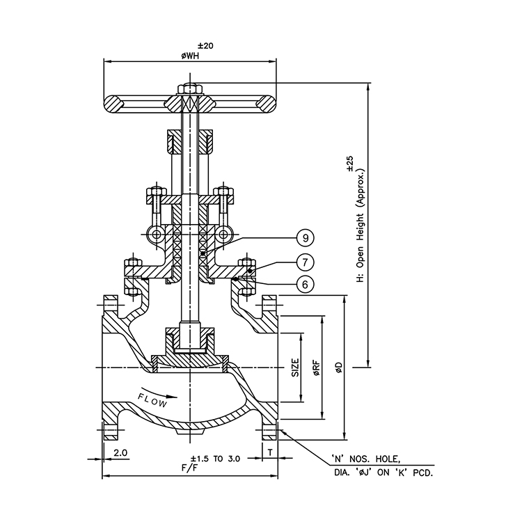
All Dimensions are in mm Unless Specified (150#)
| Size | FF | ∅D | ∅RF | T | N | ∅J | 'K' P.C.D | H | ∅WH |
|---|---|---|---|---|---|---|---|---|---|
| 25 | 127 | 110 | 51 | 11.6 | 4 | 16 | 79.4 | 285 | 100 |
| 40 | 165 | 125 | 73 | 14.7 | 4 | 16 | 98.4 | 310 | 150 |
| 50 | 203 | 150 | 92 | 16.3 | 4 | 19 | 120.7 | 360 | 200 |
| 65 | 216 | 180 | 105 | 17.9 | 4 | 19 | 139.7 | 425 | 200 |
| 80 | 241 | 190 | 127 | 19.5 | 4 | 19 | 152.4 | 443 | 225 |
| 100 | 292 | 230 | 157 | 24.3 | 8 | 19 | 190.5 | 577 | 250 |
| 125 | 356 | 255 | 286 | 24.3 | 8 | 22 | 215.5 | 685 | 350 |
| 150 | 406 | 280 | 216 | 25.9 | 8 | 22 | 241 | 790 | 400 |
| 200 | 495 | 345 | 270 | 29 | 8 | 22 | 298.5 | 1013 | 450 |
| 250 | 622 | 405 | 324 | 30.6 | 12 | 25 | 362 | 1215 | 600 |
| 300 | 698 | 485 | 381 | 32.2 | 12 | 25 | 431.8 | 1246 | 650 |
All Dimensions are in mm Unless Specified (300#)
| Size | FF | ∅D | ∅RF | T | N | ∅J | 'K' P.C.D | H | ∅WH |
|---|---|---|---|---|---|---|---|---|---|
| 25 | 203 | 125 | 51 | 17.5 | 4 | 19 | 88.9 | 285 | 200 |
| 40 | 229 | 155 | 73 | 19.1 | 4 | 22 | 114.3 | 310 | 200 |
| 50 | 267 | 165 | 92 | 20.7 | 8 | 19 | 127 | 390 | 250 |
| 65 | 292 | 190 | 105 | 23.9 | 8 | 22 | 149.2 | 500 | 250 |
| 80 | 318 | 210 | 127 | 27 | 8 | 22 | 168.3 | 500 | 300 |
| 100 | 356 | 255 | 157 | 30.2 | 8 | 22 | 200 | 577 | 350 |
| 125 | 400 | 280 | 186 | 33.4 | 8 | 22 | 235 | 790 | 400 |
| 150 | 445 | 320 | 216 | 35 | 12 | 22 | 269.9 | 790 | 450 |
| 200 | 533 | 380 | 270 | 39.7 | 12 | 25 | 330.2 | 1030 | 500 |
| 250 | 622 | 445 | 324 | 46.1 | 16 | 29 | 387.4 | 1215 | 600 |
| 300 | 711 | 520 | 381 | 49.3 | 16 | 32 | 450.8 | 1400 | 700 |
Applications
Oil Refineries
Petro Chemical Industries
Compressed Air Line
Steam Industries
Gas Industries
